SBC-IOT-LINK: NXP i.MX93 - NEW PRODUCT
ARM
A55
A55
2GB
SBC-IOT-LINK-iMX93 is an Internet of Things (IOT) Single Board Computer designed for industrial control and monitoring. What truly sets product apart is built-in support for Zigbee, Thread, and Bluetooth Mesh protocols - delivering robust, decentralised networking without additional hardware.
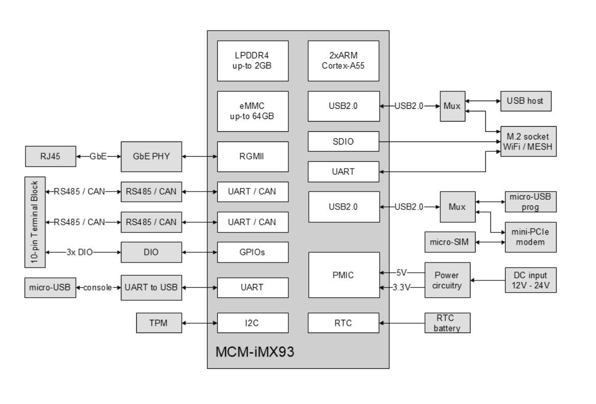
- Powered by the energy efficiient NXP i.MX9352 SoC
- LAN, WiFi, BT, RS485 or CAN-FD
- Zigbee, Thread and Bluetooth Mesh
- Miniature form factor: 80 x 52 x 22 mm
- Extended temperature
- 5-Year warranty with full support
Specifications
Diagrams
Development Kit
Feature | Specification |
---|---|
CPU Model | NXP i.MX9352 ARM Cortex-A55, 1.7GHz |
Memory | 1GB – 2GB, LPDDR4 |
Storage | 16GB – 64GB eMMC flash, soldered on-board |
Cellular Modem | 4G/LTE CAT-1 bis cellular module, SIMCOM SIM7672 Worldwide LTE, UMTS/HSPA 4G/LTE CAT-4 cellular module, Telit LE910 Worldwide LTE, UMTS/HSPA |
WiFi and Bluetoooth | 802.11ax WiFi 6 and Bluetooth 5 BLE Implemented with NXP IW611 module 1x RP-SMA antenna connector |
Wireless Mesh | Bluetooth mesh, Thread, Zigbee Nordic Semiconductor nRF52840 / Silicon Labs MGM240 |
LAN | 1x Gbit Ethernet, RJ45 connector |
RS485/CAN bus | Up-to 2x RS485 (2-wire) | CAN-FD ports Terminal-block connector |
Digital I/O | 3x digital outputs / inputs 24V compliant with EN 61131-2, terminal-block connector |
USB | 1x USB2.0 host port, type-C connector |
RTC | Real time clock with on-board coin-cell battery |
Secure Boot | Secure boot, implemented with i.MX93 AHAB module TPM 2.0, implemented with Infineon SLB9673 |
POE | Support for PoE (powered device) |
Power Supply Voltage | 12V to 24V |
Dimensions | 80 x 52 x 22mm |
OS Support | Full Board Support Package and ready to run images Debian Linux, Yocto Project and U-boot Support for Docker, MS Azure IoT and Node-RED Support for OTA updates with Mender |
Operating Temperature | Commercial: 0° to 60°C Industrial: -40° to 80°C |
* Optional feature available on this product



SBC-IOT-LINK-iMX93 Evaluation Kit
Hardware
- SBC-IOTLINK-D2-N32-JS7672G-FARS4-FBCAN-DIO-POE-H-XL-TIC
- WiFi / Bluetooth M.2 module
- Nordic NRF52840 Mesh M.2 module
- Cellular antenna
- 2.4GHz antenna
- 12V PSU with terminal block
- USB cables
Technical support
- Technical support for 12 months.
- 45-day trial period. Eval Kit will be accepted for refund if the user finds the product not suitable for their needs.